匯源果汁累計被執行金額超30億 是怎么回事?
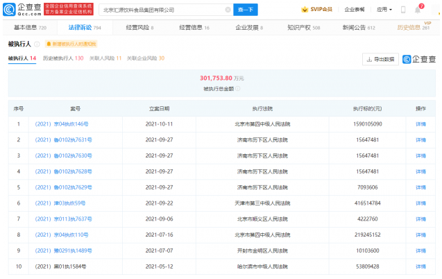
企查查APP顯示,近日,匯源果汁關聯公司北京匯源飲料食品集團有限公司新增被執行人信息,執行標的1590105090元,執行法院為北京市第四中級人民法院。
企查查顯示,目前該公司共有多條被執行人信息,被執行總金額超30億元人民幣。

>更多相關文章
-
無相關信息
熱門推薦
酷圖美文
最近更新
- 匯源果汁累計被執行金額超30億 是怎么回事?
- 字節跳動于蘭州成立新公司 注冊資本500萬
- 三星電子開始批量生產14納米DRAM芯片 鞏固
- 三季度全球PC市場出貨量達8670萬臺 同比增
- 科技股普遍下跌 亞馬遜和Facebook跌幅超過1%
- 雙11京東發布小時購業務 提速至“小時達”
- 天天聊天但是話題不曖昧怎么確定是否喜歡
- 豆腐適合減肥吃嗎 可以降低脂肪合成的速度
- 男女電話聊天超過1小時說明什么 半夜視頻
- 面臨嚴峻挑戰!我國兒童青少年精神障礙流行
- 全國多地上調最低工資標準 哪些人群將直接
- 基金紅利再投資好嗎 要以基金實時走勢為依
- 月薪4000如何理財?基金定投
- 郵政保險三年存六年后悔了怎么辦 選擇退保
- 把錢放在銀行卡里有利息嗎 是有利息的
- ST股票多久可以摘帽 沒有時間限制
- 為什么51人品貸有額度貸不了?未授權導入信
- 北京普惠健康保可以退保嗎?可以退保
- 油氣概念股早盤拉升走強 海默科技(300084
- 選龍頭股最簡單的方法 必須是漲停股
- 雙匯發展國內肉價低位仍國外采購 涉嫌利益
- 軟籽石榴成鞍山村致富“金果果” 年產值超
- 京東方A爆發 前三季預盈200億創紀錄
- “美妝防曬第一股”科思股份激進擴張 豪擲
- 突出重圍 巨星科技頂住壓力前三季預盈12億
- 華仁藥業再次迎來高增長 前三季凈利預增131%
- 深商控股20億接盤*ST眾泰 黃繼宏能將其全
- 偷雞不成蝕把米 花王股份肖國強借錢玩內幕
- 雷曼光電經營業績爆發 最高預增80倍
- 探索定罪量刑?幣圈大佬們不淡定了










